Ingredienti della macchina per blocchi di mattoni

Macchina dosatrice serie PLD


Per progetti di costruzione, strade e ponti


Modello PLD800 per ingredienti della macchina per mattoni e blocchi


Scarico centrale per condizioni umide


Schermo oscillante brevettato (lunga durata)


Scarico a nastro con pesatura precisa


Descrizione prodotto

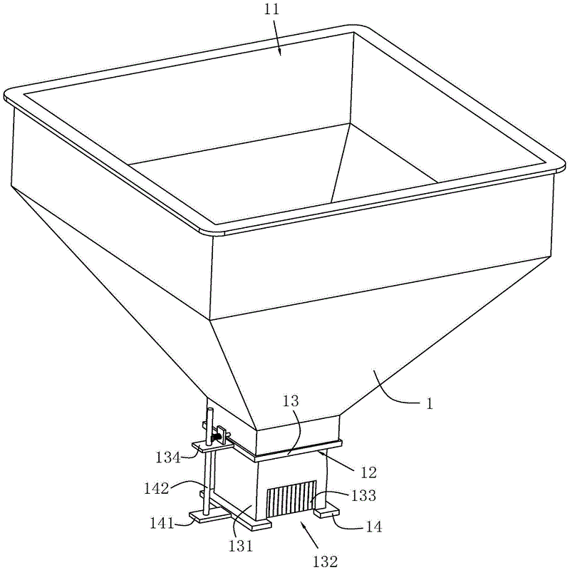
1. Gestione dei silos di materie prime raffinate

Viene adottato un design di stoccaggio compartimentato, in cui ogni silo è dedicato a una specifica materia prima, per evitare la contaminazione incrociata tra materiali diversi.

Un dispositivo di monitoraggio del livello del materiale (come un indicatore di livello radar) è installato per monitorare in tempo reale la materia prima rimanente nel silo, garantendo un rifornimento tempestivo e prevenendo il riempimento eccessivo.

Ingredienti della macchina per mattoni e blocchi

2. Controllo quantitativo dell'alimentazione

Ogni uscita del silo è dotata di un dispositivo di alimentazione quantitativa indipendente (ad esempio un trasportatore a coclea o una bilancia a nastro) per ottenere un dosaggio preciso di una singola materia prima.

Un sistema di controllo a circuito chiuso utilizza una cella di carico per fornire un feedback sulla quantità effettiva di alimentazione. La velocità del dispositivo viene regolata automaticamente dopo il confronto con il valore impostato, garantendo un errore di rapporto entro ±0,5%.

3. Trasporto di aggregati multi-materiale

Le materie prime in uscita da ciascun dispositivo di alimentazione quantitativa vengono trasportate all'impianto di miscelazione tramite un nastro trasportatore convergente o un trasportatore raschiatore. Durante il processo di trasporto viene mantenuta una velocità di trasporto uniforme per evitare accumuli o rotture di materiale.

Numero di serie

nome

Specifica

quantità

unità

1

PLD1200

Magazzino stoccaggio materie prime

4m³

2

individuale

Schermo tremante

2800*2500

1

individuale

Contenitore di pesatura

0,8㎡

1

individuale

sensore

ZMLBF-1000

3

individuale

Motore

2,2 kW

2

torre

Motore scuotitore

2,2 kW

1

torre

Nastro trasportatore

B500

3

striscia

Telaio

Struttura in acciaio

1

impostato


Lascia i tuoi messaggi

prodotti correlati

x

Prodotti popolari

x
x